ThinkPad Pen Tablets

ThinkPad 730T / 730TE

Machine Type 2524 · 1993-94 · 18 sections

ThinkPad 730T and 730TE pen tablets.

Overview #

Introduction: The ThinkPad 730T is a compact pen-operated tablet PC aimed at enterprise and field workers.

General Checkout 730TE #

Note: The diagnostic tests are intended to test only IBM products. Non-IBM products, prototype cards or modified options can give false errors and invalid responses.

Note: If the Pen is not held on the Suspend button
          when power is switched on, the user defined screen appears.
 DID EITHER THE Easy-Setup or Password Menu SCREEN APPEAR ?

Note: The installed devices are displayed in dark shade and the uninstalled devices are displayed in gray shade FDD, Parallel and Serial icons are always displayed in dark shade. That is, these icons represent adapters on the system board and do not represent external devices.

  • Yes Go to 'Installed Devices Check'
  • No- Select All on the Test Menu and go to Step 012 (Diagnostic tests will run on all devices displayed in dark shade.)

DID THE TEST FIND A DEVICE ERROR?

A device error is displayed with an X over the device. The device ID (XXX), an error description code (YY), and FRU code (ZZZZ) are displayed: For example:

Note: If the test stops or hangs when the test is running, replace the last device that was tested.

  • Yes The error was not detected by the test:
  • Check that the cables and connectors are not damaged.
  • Reconnect all adapters, drives, and modules then test the system several times. An All Loop option is available for looping all the test. To exit from the looping, select the test icon on the right, bottom corner of the screen at the time of between each test.
  • If no error is detected, go to 'Symptom-to-FRU Index' and use the user reported symptoms.
  • No- If any errors are detected, go to 'FRU Codes' Note the error code shown on the screen and go to 'FRU Codes' and replace the appropriate FRU.

General Checkout 730TE (2524)

Use the following procedure as a guide for computer problems.

NOTE: The diagnostic tests are intended to test only IBM products. Non-IBM products, prototype cards or modified options can give false errors and invalid responses.

warn   If more than one error code appears, diagnose the first error code first. The cause of this first error code can cause additional false error codes to appear. Multiple error codes may appear on the LCD during POST process.

  • Power off the system and all external devices.
  • Check that all the cables and the power cord are properly connected
  • Power on the system while pressing the Suspend button with the Pen. Check for the following responses:
  • The power on indicator lights.
  • One long beep sounds.
  • Memory test begins (memory size appears on the top-left corner of the screen) and the EASY-Setup screen or Password-Menu screen appears.

NOTE: If the Pen is not held on the Suspend button when power is switched on, the user defined screen appears. DID EITHER THE Easy-Setup or Password Menu SCREEN APPEAR ?

730_3 

  • Yes Go to Step 004
  • No
  • Enter the password on Password Menu screen, if it appeared. Select Test on the Easy-Setup screen and go to Step 007

DID THE FOLLOWING SCREEN APPEAR ?

730_4 

  • Yes Note the symptom. If the power does not come on completely, go to 'Power Systems Checkout' and follow the procedure. If the power is on, but the expected screen does not appear, go to 'Symptom-to-FRU Index' and find the symptom, such as No-Beep-Symptom, that matches your symptom and follow the instructions.
  • No
  • Note all error codes on the screen. Go to 'Symptom-to-FRU Index' and find the error code and follow the instructions. If the problem remains, go to 'Undetermined Problems'

DID THE TEST MENU APPEAR ?

730_5 

  • Yes Go to 'Symptom-to-FRU Index' and find the error code or the symptom and follow the instructions. If the problem remains, go to 'Undetermined Problems'
  • No
  • IS THE DISPLAYED CONFIGURATION CORRECT WITH THE INSTALLED DEVICES ?

NOTE: The installed devices are displayed in dark shade and the uninstalled devices are displayed in gray shade FDD, Parallel and Serial icons are always displayed in dark shade. That is, these icons represent adapters on the system board and do not represent external devices.

  • Yes Go to 'Installed Devices Check'
  • No
  • Select All on the Test Menu and go to Step 012 (Diagnostic tests will run on all devices displayed in dark shade.)

DID THE TEST FIND A DEVICE ERROR?

A device error is displayed with an X over the device. The device ID (XXX), an error description code (YY), and FRU code (ZZZZ) are displayed: For example:

730_6 

XXX: Device ID

YY: Error Description Code

ZZZZ: FRU Code

NOTE: If the test stops or hangs when the test is running, replace the last device that was tested.

  • Yes The error was not detected by the test:
  • Check that the cables and connectors are not damaged.
  • Reconnect all adapters, drives, and modules then test the system several times. An All Loop option is available for looping all the test. To exit from the looping, select the test icon on the right, bottom corner of the screen at the time of between each test.
  • If no error is detected, go to 'Symptom-to-FRU Index' and use the user reported symptoms.
  • No
  • If any errors are detected, go to 'FRU Codes' Note the error code shown on the screen and go to 'FRU Codes' and replace the appropriate FRU.

Symptom-to-FRU Index 730TE #

Note: For IBM devices not supported by ThinkPad 730TE diagnostic code, refer to the manual for that device.

Symptom-to-FRU Index 730TE (2524)

The Symptom-to-FRU Index lists the symptoms and errors and the possible causes. The most likely cause is listed first. Use this index to help you decide which FRUs to have available when servicing a computer.

For errors indicated by the diagnostic tests, see 'FRU Codes'. If the symptom is not listed, go to 'Undetermined Problems'

In the following error codes, X can be any number.

NOTE: For IBM devices not supported by ThinkPad 730TE diagnostic code, refer to the manual for that device.

Numeric Error Codes #

Symptom/Error FRU/Action
10X 1. System board
100 (Check 'Memory Checkout' before changing any device.) 1. IC DRAM Card
2. Memory Card
3. System Board
111 1. Option Bus
2. System Board
161 1. System Board (Backup Battery)
162 (Check 'Installed Devices Check' before changing any device.) 1. Check Device Configuration
2. System Board
3. Diskette Drive Assembly
4. Diskette Drive Cable
5. Hard Disk Card
6. Modem Card
163 1. Set Time and Date
2. System Board
164 (Check 'Memory Checkout' before changing any device.) 1. Check Device Configuration
2. IC DRAM Card
3. Memory Card
4. System Board
1XX 1. System Board
20X 1. IC DRAM Card
2. Memory Card
3. System Board
21X 1. IC DRAM Card
2. Memory Card
3. System Board
2XX (Check 'Memory Checkout' before changing any device.) 1. IC DRAM Card
2. Memory Card
3. System Board
301, 31X 1. System Board
2. Keyboard
3. Port Replicator
304, 305 1. System Board
2. Mouse
3. Keyboard
4. Port Replicator
308 1. System Board
3XX 1. Keyboard
2. Mouse
3. System Board
4. Port Replicator
601, 6XX (Go to the 'External Diskette Drive Checkout' before changing any device.) 1. System Board
2. Diskette Drive Assembly
3. Diskette Drive Cable
4. Port Replicator
602 1. Diskette Drive Assembly
9XX 1. System Board
2. Parallel Device
3. Port Replicator
11XX 1. System Board
2. Serial Device
3. Port Replicator
12XX 1. System Board
2. Serial Device
3. Communication Cable
4. Port Replicator
17XX 1. Disk Drive Assembly
2. System Board
24XX 1. System Board
2. LCD Assembly
5001 - 5016 1. System Board
2. LCD Assembly
5017 - 5020 1. System Board
2. LCD Assembly
8601, 8603 1. System Board
2. Mouse
3. Port Replicator
86XX 1. Mouse
2. System Board
3. Port Replicator
101XX 1. Modem Card
2. System Board
102XX 1. System Board
I9990305 1. Operating System
2. OS Device

FRU Codes 730TE #

FRU Codes 730TE (2524)

If an error is detected by the diagnostic tests, a four-digit FRU code is displayed.

The FRU codeindicates two suspected FRUs****

Replace the FRU that is indicated by the two leftmost digits first, then replace the FRU indicated by the two rightmost digits. No FRU is assigned to code 00 If only one FRU is suspected, the other FRU code is filled with 00.

Use the 'External Diskette Drive Test' to isolate diskette problems to a FRU.

If the problem still remains and the system board has not been replaced, replace the system board.

FRU Code FRU
10 System Board
11 CPU Card
20 Memory (See 'Memory')
30 Keyboard
31 Numeric Keypad
32 Keyboard, External
33 Mouse
36 LCD / Digitizer
40 LCD Assembly
41 External CRT
50 External Diskette Drive
60 System Board
65 IC Card Memory
68 TPF Card Hard Disk Card
70 System Board (Printer)
71 System Board (Printer control)
85 System Board (Speaker)

Beep Symptoms #

Symptom/Error FRU/Action
Continuous beep 1. System Board
One beep and blank, unreadable, or flashing LCD 1. LCD Assembly
2. System Board
3. Memory Card
4. IC DRAM Card
One beep and the message 'Boot source cannot be found' 1. TPF
2. System Board
One beep and the message 'Unable to access boot source' 1. TPF
2. System Board
One long, two short beeps and a blank or unreadable LCD 1. System Board
2. LCD Assembly
Five very short beeps 1. Connect an AC adapter or install a fully charged battery.
Ten very short beeps 1. Connect an AC adapter or install a fully charged battery (allow system to complete shutdown before changing the battery). System is shutting down due to low battery voltage.
Two short beeps 1. POST error. Refer to 'Numeric Error Codes' list

No-Beep Symptoms #

Symptom/Error FRU/Action
No beep, Power-on LED not lit, and a blank LCD during POST (See 'Power Systems Checkout' before replacing any FRUs.) 1. System Board
2. Power source when failing
No beep, Power-on LED lit, and a blank LCD during POST (See: 'Power Systems Checkout' before replacing any FRUs.) 1. System Board
2. CPU Card
3. Memory Card
4. IC DRAM CArd
5. Modem Card
No beep during POST, but system runs OK 1. System Board (Speaker)
LCD screen unreadable or characters missing pels. 1. LCD Assembly
2. System board
One or more keys do not work 1. Keyboard
2. System board
Printer problems. (See 'Printer Checkout' 1. System Board
2. Port Replicator
3. Parallel Port Adapter Cable

Power Systems Checkout #

Use the following procedure if you suspect a computer power problem, for example:

  • The computer does not power-on.
  • The computer attempts to power-on, then shuts down immediately.

Obtain from the user all information about the symptoms of the power failure.

REMOVE THE BATTERY. DOES THE COMPUTER FAIL ONLY WHEN USING THE AC ADAPTER ?

  • Yes Go to Step 004
  • No
  • Go to 'AC Adapter Test' and perform the test.

INSTALL A CHARGED BATTERY. DISCONNECT THE AC ADAPTER. DOES THE COMPUTER FAIL ONLY WHEN USING THE BATTERY ?

  • Yes If the computer fails only when using the car battery adapter, go to 'Car Battery Adapter Test' and perform the steps. If the symptom is both a AC and a DC power failure, go to 'AC Adapter Test' and perform the test from step 5.
  • No
  • DOES THE BATTERY GO FROM FULL POWER TO LOW POWER TOO QUICKLY ?
  • Yes Go to 'Battery Pack Test'
  • No
  • Using the AC adapter, perform Test from the Easy-Setup screen and select All to test all the devices. Go to step 009

DID THE TEST RUN SUCCESSFULLY ?

  • Yes If a FRU code is displayed, 'FRU Codes' If nothing is displayed, go to 'Symptom-to-FRU Index' and replace the appropriate FRU.
  • No
  • Go to 'Short Circuit Test' and follow the procedure.

AC Adapter Test #

Use the following procedure to analyze an AC adapter problem.

  1. Unplug the AC adapter from the power outlet and the computer.
  2. Inspect the AC adapter for any signs of overheating or damage.
  3. Inspect the AC adapter power cord for cuts or damage. Replace the power cord, if necessary.
  4. Plug the power cord into a power outlet. Listen for any sound  that might indicate defective operation.
  5. Measure the output voltage at the AC adapter plug.

larkacp 

Pin Voltage (Vdc)
1 +14 to +16
2 Ground (sleeve)
  • If the voltage is incorrect, but not 0, replace the AC adapter.
  • If the voltage is 0, check the power cord and the power outlet.
  • If the power cord and power outlet are OK, replace the AC adapter.
  • If the voltage is correct, suspect a short circuit or a  failure in the computer. Go to 'Short Circuit Test'

Car Battery Adapter Test #

Use the following procedure if you suspect a car battery adapter problem.

  1. Unplug the car adapter from the computer and the cigarette socket.
  2. Measure the cigarette socket voltage. It should be between 10.5 Vdc  and 16.0 Vdc.
  3. Plug the adapter into the car socket. Measure the output voltage of the adapter.

larkacp 

Pin Voltage (Vdc)
1 +14 to +16
2 Ground (sleeve)
  • If the voltage is incorrect, but not 0, replace the car battery adapter.
  • If the voltage is 0, check the adapter connector has good contact with  cigarette socket. If there is nothing wrong with the connection, replace  the adapter.
  • If the voltage is correct, and the computer works with no problems with the AC adapter,  replace the car battery adapter.
  • If the voltage is correct, and the computer fails with AC adapter also,  do the 'AC Adapter Test' procedure.

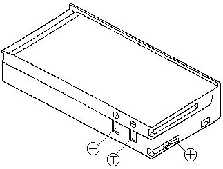
Battery Pack Test #

  1. Remove the battery pack.
  2. Measure the voltage at the battery contacts

730_7 

Contacts Voltage (Vdc)
+ +6.0 to +8.4
- Ground
  • If the voltage is not correct, charge the battery.
  • If the voltage is not correct after being charged, replace the battery.
  • If the voltage is correct, suspect a short circuit or failure  in the computer. Go to 'Short Circuit Test'

Use the following procedure to check if the thermal protection has tripped.

  1. Measure the resistance with an ohmmeter between the (T) and (-) contacts.
  2. The resistance should not be open.  The thermal protection is detected when the temperature exeeds 70°C to 80°C (158°F to 176°F).  Wait until the temperature of the battery becomes low, then verify the  conduction of the terminals. If it is open, replace the battery.

External Diskette Drive Checkout #

Use the following procedure to isolate the diskette problem to a controller, drive or diskette. A scratch, write enabled 2HD diskette is required.

  1. Select the icon FDD on the TEST MENU .  By doing this, the controller test and the drive read/write test run. If the  controller test detects an error, FRU code 10 appears. In this case, replace the system board.
  2. If the controller test run without errors, follow the instructions on the  screen and insert a scratch diskette.
  3. If the drive test detects an error, FRU code 50 appears. If the diskette media  are known to be good, replace the drive or the drive cable.

Printer Checkout #

  1. Make sure the printer is properly connected and power is switched on.
  2. Run the printer self-test, if available. If the printer self-test does not run  correctly, the problem is in the printer. Refer to the printer service manual.
  3. Disconnect the printer cable.
  4. Select Parallel on the Test Menu and perform the parallel test, if  the printer is attached to the parallel port. If the test detects an error, replace the system  board. If the test runs error free, replace the printer cable, and check by the program which  may recreate the error. If the problem remains, replace the system board.

Undetermined Problems #

  1. Power off the system.- Remove or disconnect one of the following devices:

    • Any external device or cables (including the keyboard)

    • Switch on computer power and run diagnostic tests.
    • If the symptom remains, repeat steps 1, 2 and 3 until you  find the failing adapter or device.
    • If all devices are disconnected and the symptom remains, go to 'Power Systems Checkout' . If this does not solve the problem, replace the  system board.
    • If an intermittent problem remains after replacement of the FRUs,  consider external electrical noise that can have effect on the computer.  Check that the EMC contacts on the system board are not broken. The contacts  are fragile and can be easily damaged.

Installed Devices Check #

If a device is installed but the icon appears in gray shade rather than dark shade on the Test Menu, it means that the device is defective. Make sure that the device is connected properly. If the symptom continues, replace the device or the system board.

Short Circuit Test #

Use the following procedure to analyze a short or an open circuit in the computer.

  1. Visually check the cables, wires, and connectors for any short circuits, open wires, and damage. If  a short circuit or burned part are found, replace the parts.
  2. Disconnect, then reconnect all the external devices from the computer  one by one and see if the same symptoms appears. If you find that an external device  has a problem, follow the maintenance procedure for that device.
  3. If the same symptom remains with no external device connected, the problem is in the  computer. Isolate the failing component in the system unit by changing the FRU one by one  until you find the problem. Replace the system board first. If the symptom is that the battery becomes low on power quickly, and all the  tests run without detecting any errors, replace the battery pack first.

Miscellaneous Symptoms #

Symptom/Error FRU/Action
Computer does not respond to Pen input. 1. Pen
2. LCD Assembly
3. System Board
LCD backlight not functioning 1. Inverter Card
2. LCD Assembly
3. System Board
LCD backlight intensity not adjustable 1. Inverter Card
2. LCD Assembly
3. System Board
LCD contrast not adjustable 1. LCD Assembly
2. System Board
System hang or intermittent hang (See 'Undetermined Problems' before replacing any FRUs 1. Press 'Reset Button'
2. System Board
3. Operating System
The system does not suspend or resume 1. System Board
2. LCD Assembly
The system does not power off 1. Press 'Reset Button'
2. System Board
Real-time clock inaccurate 1. System Board
Printer problems (See 'Printer Checkout') 1. System Board
2. Parallel Port Device Cable
Serial or parallel port device problems 1. Device
2. Device Cable
3. System Board
LED incorrectly remains off, but system runs OK 1. System Board
Modem Card does not communicate with a modem or FAX. 1. Verify that the setup data defined by the communication software is suitable for the communication
2. Modem Card

If the problem remains, see 'Undetermined Problems'

Memory Checkout #

Note: Before removing a IC DRAM card, switch off computer power.

NOTE: Before removing a IC DRAM card, switch off computer power.

To isolate the FRUs, remove the IC DRAM card and run the memory test again. Otherwise, replace the IC DRAM card. If an error occurs without the IC DRAM card, replace the memory card first. (The memory card contains the first 4 MB or 8 MB of the memory.) If the problem remains, replace the system board.

Reset Button #

The reset button is used to power off the system when the system will not power off normally or when the system is hung.

730_2