Overview #
Introduction: The iconic ThinkPad 701 'Butterfly' is famous for its expanding TrackWrite keyboard, making it a masterpiece of industrial design.
Machine Type 2630 · 1995 · 75 sections
Iconic ThinkPad 701C/701CS with the TrackWrite expanding keyboard.
Introduction: The iconic ThinkPad 701 'Butterfly' is famous for its expanding TrackWrite keyboard, making it a masterpiece of industrial design.
Product Overview 701C, 701CS (2630)
| Feature | Description |
|---|---|
| Processor | Intel® 486 DX2 25/50MHz or DX4 25/75MHz, with math coprocessor |
| Memory (Standard) | 4MB or 8MB (on the system board) |
| Memory (Option) | 4, 8 or 16MB SO-DIMM |
| Bus Architecture (Two Busses) |
|
| CMOS RAM | 128 Bytes |
| VGA Video |
|
| Diskette Drive | 1.44MB (3-mode for Japan, 2-mode for other countries) 3.5-inch external. |
| Hard Disk Drive (Removable) |
|
| Audio |
|
| Internal Modem Card | Data/Fax/Voice Modem with 14.4 Kbps transmission rate and telephony support (U.S. and Canada only) |
| PCMCIA Cards |
Accepts any of the following:
|
| Infrared Transceiver | Integrated infrared hardware IRDA-compatible transceiver with 115.2 Kbps transmission rate. |
Note: Before replacing any FRU, see 'FRU Removals and Replacements'
Checkout Guide 701C, 701CS (2630)
Service for U. S. and Canada
In the U. S. and Canada, the 701C / 701CS is serviced only through EasyServe.
Use the following procedure as a guide for computer problems:
NOTE: Before replacing any FRU, see 'FRU Removals and Replacements'
| Symptom | Go to |
|---|---|
| Power failure. (The power indicator does not go on or stay on.) | 'Power Systems Checkout' |
| POST does not complete. No beeps or error codes are indicated. | 'No-Beep Symptoms' |
| POST beeps, but no error codes are displayed. | 'Beep Symptoms' |
| POST detected an error and displayed numeric error codes. | 'Numeric Error Codes' |
| The diagnostics test detected an error and displayed a FRU code. | 'FRU Codes' |
| The configuration is not the same as for the installed devices. | 'Checking Installed Devices' |
| Other symptoms (such as LCD display problems). | 'Symptom-to-FRU Index', and then use the symptoms tables. |
| Symptoms cannot be recreated. (Intermittent problems.) | Use the customer-reported symptoms and also see 'Intermittent Problems' |
The diagnostic tests are intended to test only IBM products. Non-IBM products, prototype cards, or modified options can give false errors and invalid system responses.
Perform the following procedures to complete a general checkout:
Note: A graphic message prompts you to attach the selected test tools.
Use either the TrackPoint III or the cursor movement keys to interact with the tests. When asked for an OK response, press Enter or select the OK button.
Note:
Note: For IBM devices not supported by diagnostics codes of ThinkPad 701C / 701CS, see the manual for those devices.
Symptom-to-FRU Index 701C, 701CS (2630)
The Symptom-to-FRU Index contains tables that list causes of symptoms. The most likely cause is listed first. Use this index to help you decide which FRUs to have available when servicing a computer.
pleaseREAD - see
Before removing any FRU, power-off the computer, unplug all power cords from electrical outlets, remove the battery pack, then disconnect any interconnecting cables.
Perform the FRU replacement or actions in the sequence shown in the FRU / Action columns. If the replacement FRU did not solve the problem, put the original FRU back in the computer.
NOTE:
Before completely reassembling a computer that has been repaired, try to reboot the computer to check the repairs that have been completed. However, when you reboot without the keyboard attached, the computer will display error codes 8603, 8613, and 86XX.
Use displayed numeric error codes to determine the system problem. If numeric error codes are not available, use the other symptom tables that describe specific symptoms. If the symptom is not listed, go to 'Undetermined Problems'
NOTE: For IBM devices not supported by diagnostics codes of ThinkPad 701C / 701CS, see the manual for those devices.
Numeric Error Codes 701C, 701CS (2630)
Numeric error codes show the errors detected in POST or system operation. Use the error codes displayed on the screen to diagnose failures. If more than one error code is displayed, begin the diagnosis with the first error code. The cause of the first error code can result in false error codes being displayed.
In the following error codes, X can be any number.
| Symptom/Error | FRU/Action |
|---|---|
| 02X, 101, 107 |
1. Battery
2. AC Adapter 3. Memory Option 4. Top System Board |
| 10X | 1. Bottom System Board |
| 119 | 1. Top System Board. |
| 161, 163 |
1. Set Configuration
(Press Fn+F1 to enter the
Configuration Utility and set the time and date.)
2. Top System Board. 3. Bottom System Board. |
| 162 (Check the Installed Devices list for a missing device.) |
1. Set Configuration.
(Press Fn+F1 to enter the
Configuration Utility and set your configuration.)
2. Any Missing Device. 3. Top System Board. 4. Bottom System Board. |
| 164 (Memory size error) |
1. If a SO-DIMM card has been removed,
press Fn+F1 to enter the Configuration
Utility, and verify the memory size.
2. Replace the installed SO-DIMM. 3. Bottom System Board. |
| 184 | 1. Press Fn+F1 to enter the Configuration Utility, and then reset the Power-on Password |
| 195 (The hibernate partition does not match memory size.) |
1. Check if the disk drive is from another
computer or if the memory size has changed.
2. Go to 'Hard Disk Drive Checkout' 3. Hard Disk Drive |
| 196 (Read error occurred in the hibernate area of the Hard Disk Drive.) |
1. Disable, and then enable Hibernate mode.
2. Go to 'Hard Disk Drive Checkout' 3. Hard Disk Drive |
| 197 (The computer memory size is not equal to the hibernate area size on the Hard Disk Drive.) | 1. Disable, and then enable Hibernate mode. |
| 1XX (Not listed above.) |
1. Top System Board.
2. Bottom System Board. |
| 2XX |
1. Go to 'Memory Checkout'
2. SO-DIMM 3. Bottom System Board |
| 3XX (Before replacing FRUs, power-off, and then power-on the computer.) |
1. Remove attached external devices.
2. Reseat cables. 3. Keyboard 4. Top System Board |
| 6XX |
1. Go to 'Diskette Drive Checkout'
2. Diskette 3. Diskette Drive Cable 4. Diskette Drive 5. Top System Board |
| 09XX, 10XX | 1. Top System Board. |
| 11XX |
1. Modem
2. Top System Board 3. Bottom System Board |
| 17XX |
1. Go to 'Hard Disk Drive Checkout'
2. Hard Disk Drive 3. Bottom System Board |
| 24XX (For external displays, see the 'External Display Self-Test' in the 'Common Devices Checkout section' before replacing any FRUs.) |
1. External Display.
2. External Display Power Cord. 3. Backlight Lamp Assembly. 4. LCD Assembly. 5. Bottom System Board. 6. Inverter Card. |
| 8000 |
1. Set Configuration.
2. PCMCIA Card. 3. Bottom System Board. |
| 860X (Pointing device error when TrackPoint III is disabled.) |
1. External Mouse.
2. External Keyboard. 3. Top System Board 4. Bottom System Board |
| 861X (Pointing device error when (TrackPoint III is enabled.) |
1. Reseat the TrackPoint III cable
(the narrowest keyboard cable)
at the Top System Board.
2. External Mouse 3. Keyboard 4. Top System Board 5. Bottom System Board |
| 86XX (Not listed above) |
1. Pointing Device.
2. TrackPoint III. 3. Keyboard. 4. Numeric Keypad. 5. Top System Board. 6. Bottom System Board. |
| 12902 | 1. Bottom System Board. |
| I9990305 |
1. Go to 'Hard Disk Drive Checkout'
2. Hard Disk Drive 3. Bottom System Board |
| Other codes not | 1. Go to 'Undetermined Problems' |
| listed above |
Note: The device ID and error codes are used to indicate in detail the portion of the FRU that caused the error. If replacing a FRU does not correct a problem, see the device ID or error code from the previous failure. If they have changed, the new FRU might be defective or incorrectly installed.
If an error is detected by the diagnostics tests, a four-digit FRU code is displayed, along with an error code. The FRU code indicates two suspected FRUs. Replace the FRU that is indicated by the two leftmost digits first, and then replace the FRU indicated by the two rightmost digits. No FRU is assigned to code 00. If only one FRU is suspected, the other FRU code is filled with zeros. See the referenced page before replacing the FRU.
| FRU Code | FRU/Action |
|---|---|
| 10 | 1. Diskette Drive |
| 2. Bottom System Board | |
| 3. Top System Board | |
| 12 | Top System Board |
| 14 | Bottom System Board |
| 20 | Memory |
| (See 'Memory Checkout') | |
| 32 | External Keyboard |
| 33 | External Mouse |
| 40 | LCD Assembly |
| (See 'Disassembling the LCD Assembly') | |
| 45 | External CRT |
| 50 | 1. Reseat the Diskette Drive (FDD-1). |
| 2. Diskette Drive (FDD-1) | |
| 51 | 1. Reseat the Diskette Drive (FDD-2). |
| 2. Diskette Drive (FDD-2) | |
| 55 | 1. Insert a correctly |
| formatted 2.0MB diskette | |
| into the Diskette Drive. | |
| 60 | 1. Reseat the Hard Disk Drive (HDD-1). |
| 2. Hard Disk Drive (HDD-1) | |
| 61 | 1. Reseat the Hard Disk Drive (HDD-2) |
| on the docking station. | |
| 2. Hard Disk Drive (HDD-2) | |
| 70 | External PCMCIA |
| 81 | Internal Modem Card |
| 91 | If MultiPort II is installed: |
| 1. Reseat MultiPort II. | |
| 2. MultiPort II. | |
| If Dock II is installed: | |
| 1. Reseat Dock II. | |
| 2. Dock II |
NOTE: The device ID and error codes are used to indicate in detail the portion of the FRU that caused the error. If replacing a FRU does not correct a problem, see the device ID or error code from the previous failure. If they have changed, the new FRU might be defective or incorrectly installed.
If the problem remains after replacement of the FRUs, go to 'Undetermined Problems'
| Symptom/Error | FRU/Action |
|---|---|
| No beep, power-on indicator not on, and a blank LCD during POST. |
1. Go to 'Power Systems Checkout'
2. Top System Board. 3. Power sources. |
| No beep, power-on indicator on, and a blank LCD during POST. |
1. Top System Board.
2. Bottom System Board. |
| No beep, power-on indicator on, and a blinking cursor only during POST. |
1. Top System Board.
2. Bottom System Board. |
| No beep during POST but system runs correctly. |
1. Turn the volume up.
2. Speaker. 3. Top System Board. |
| Symptom/Error | FRU/Action |
|---|---|
| Continuous beeps. | 1. Top System Board |
| One beep and a blank, unreadable, or flashing LCD. |
1. Reseat all LCD connectors.
2. LCD Assembly 3. Bottom System Board |
| One beep, and the message Unable to access boot source. |
1. Boot device
2. System Board |
| One long, two short beeps, and a blank or unreadable LCD. |
1. Bottom System Board.
2. LCD Assembly |
| One long beep followed by four short beeps each time the power switch is operated. (System cannot power-on due to low battery voltage.) | 1. Connect the AC adapter or install a fully charged battery |
| One beep every second. (System is entering Suspend mode due to low battery voltage.) | 1. Connect the AC adapter or install a fully charged battery (allows system to suspend suspend operation before changing the battery). |
| Two short beeps with error codes. | 1. POST error. See 'Numeric Error Codes' |
| Two short beeps with blank screen. |
1. Top System Board
2. Bottom System Board. |
Intermittent system interruptions can be caused by a variety of reasons that have nothing to do with a hardware defect, such as electrostatic discharge or software errors. Consider replacing a FRU only when a recurring problem exists.
When analyzing the intermittent problem, perform the following steps:
Note: Before removing any FRU, remove any attached devices, including the diskette drive, diskette drive cable, and MultiPort II if they are attached.
FRU Removals and Replacements 701C, 701CS (2630)
This section contains information about removals and replacements.
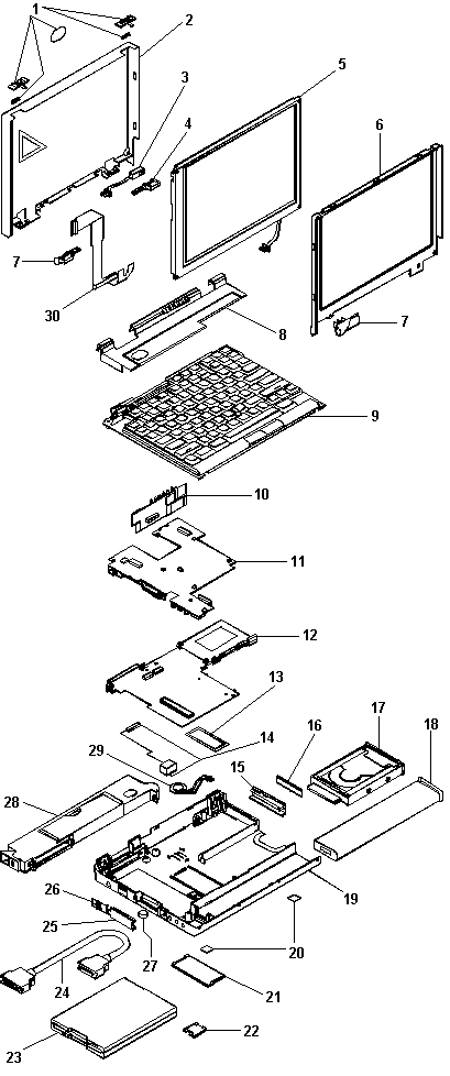
Follow the numerical sequence in 'Disassembling the ThinkPad 701C / 701CS' and the three exploded views to remove or disconnect parts in the correct order. Reverse the numerical sequence to replace FRUs. Note exceptions and special instructions for replacement throughout the FRU removal procedure.
The letters in parentheses in the list indicate screw types. Consult the following screw size chart to match the letters to the correct screw type and size before replacing each screw.
pleaseREAD - see
NOTE: Before removing any FRU, remove any attached devices, including the diskette drive, diskette drive cable, and MultiPort II if they are attached.
Locations 701C, 701CS (2630)
Note:
Miscellaneous Parts
| FRU P/N | |
|---|---|
| AC Adapter | |
| For Americas and Japan | 04H6903 |
| For Worldwide Use | 04H6904 |
| Screw Kit | 04H8330 |
| (Incl. the following TORX screws) | |
| 2. Nuts (2) | |
| M2.5 x 6 mm (9) | |
| M2.5 x 8.4 mm (4) | |
| M2.5 x 10 mm (1) | |
| M1 x 3 mm (4) | |
| M2.5 x 7.5 mm (4) | |
| M2.5 x 8 mm (3) | |
| M2.5 x 5 mm (2) | |
| M2 x 8 mm (2) | |
| M2.5 x 16 mm (1) | |
| TrackPoint III Cover | 04H8387 |
NOTE:
Options
| FRU P/N | |
|---|---|
| Memory 70ns, 3.3v, nonparity, self-refresh DIMM | |
| Memory SO-DIMM 4MB | 92G7260 |
| Memory SO-DIMM 8MB | 92G7262 |
| Memory SO-DIMM 16MB | 92G7264 |
| AC Adapter (U.S.) | 04H6903 |
| 360MB Hard Disk Drive | 04H6829 |
| 540MB Hard Disk Drive | 04H6830 |
| 720MB Hard Disk Drive | 25H4873 |
| Dock II Adapter Card | 04H8353 |
Tools
| FRU P/N | |
|---|---|
| Standard Tri-Connector Wrap Plug | 72X8546 |
| PCMCIA (PC Test Card) | 35G4680 |
| Standard Audio Wrap Cable | 66G5180 |
| Standard Screwdriver Kit | 95F3598 |
| TORX T1 Screwdriver | 10H4156 |
| TORX T6 Screwdriver | 10H4157 |
The TORX Screwdriver order can also be done to:
TORQUELEADER M.H.H. Engineering Co.Ltd.
BRAMLEY, GUILDFORD, SURREY, GU5 0AJ, ENGLAND
Tel:44(0)1483 892772 Fax:44(0)1483 898555
for
MIN FH BLUE / Stock Number 015200
MIN FH GREEN / Stock Number 015220
MIN FH RED / Stock Number 015240
MIN FH GOLD / Stock Number 015260
TLS022 1/4 FH / Stock Number 015080
Safety Notice 8
Before removing any FRU, power-off the computer, unplug all power cords from electrical outlets, remove the battery pack, then disconnect any interconnecting cables.
Avant de retirer une unité remplaçable en clientèle, mettez le système hors tension, débranchez tous les cordons d'alimentation des socles de prise de courant, retirez la batterie et déconnectez tous les cordons d'interface.
Die Stromzufuhr muß abgeschaltet, alle Stromkabel aus der Steckdose gezogen, der Akku entfernt und alle Verbindungskabel abgenommen sein, bevor eine FRU entfernt wird.
Prima di rimuovere qualsiasi FRU, spegnere il sistema, scollegare dalle prese elettriche tutti i cavi di alimentazione, rimuovere la batteria e poi scollegare i cavi di interconnessione.
Antes de quitar una FRU, apague el sistema, desenchufe todos los cables de las tomas de corriente eléctrica, quite la batería y, a continuación, desconecte cualquier cable de conexión entre dispositivos.
Safety Notice 1
Before the computer is powered-on after FRU replacement, make sure all screws, springs, or other small parts are in place and are not left loose inside the computer. Verify this by shaking the computer and listening for rattling sounds. Metallic parts or metal flakes can cause electrical shorts.
Avant de remettre l'ordinateur sous tension après remplacement d'une unité en clientèle, vérifiez que tous les ressorts, vis et autres pièces sont bien en place et bien fixées. Pour ce faire, secouez l'unité et assurez-vous qu'aucun bruit suspect ne se produit. Des pièces métalliques ou des copeaux de métal pourraient causer un court-circuit.
Bevor nach einem FRU-Austausch der Computer wieder angeschlossen wird, muß sichergestellt werden, daß keine Schrauben, Federn oder andere Kleinteile fehlen oder im Gehäuse vergessen wurden. Der Computer muß geschüttelt und auf Klappergeräusche geprüft werden. Metallteile oder -splitter können Kurzschlüsse erzeugen.
Prima di accendere l'elaboratore dopo che é stata effettuata la sostituzione di una FRU, accertarsi che tutte le viti, le molle e tutte le altri parti di piccole dimensioni siano nella corretta posizione e non siano sparse all'interno dell'elaboratore. Verificare ci scuotendo l'elaboratore e prestando attenzione ad eventuali rumori, eventuali parti o pezzetti metallici possono provocare cortocircuiti pericolosi.
Antes de encender el sistema despues de sustituir una FRU, compruebe que todos los tornillos, muelles y demás piezas pequeñas se encuentran en su sitio y no se encuentran sueltas dentro del sistema. Compruébelo agitando el sistema y escuchando los posibles ruidos que provocarían. Las piezas metálicas pueden causar cortocircuitos eléctricos.
Safety Notice 2
Some standby batteries contain a small amount of nickel and cadmium. Do not disassemble it, recharge it, throw it into fire or water, or short-circuit it. Dispose of the battery as required by local ordinances or regulations. Use only the battery in the appropriate parts listing. Use of an incorrect battery can result in ignition or explosion of the battery.
Certaines batteries de secours contiennent du nickel et du cadmium. Ne les démontez pas, ne les rechargez pas, ne les exposez ni au feu ni à l'eau. Ne les mettez pas en court-circuit. Pour les mettre au rebut, conformez-vous à la réglementation en vigueur. Lorsque vous remplacez la pile de sauvegarde ou celle de l'horloge temps réel, veillez à n'utiliser que les modèles cités dans la liste de pièces détachées adéquate. Une batterie ou une pile inappropriée risque de prendre feu ou d'exploser.
Die Bereitschaftsbatterie, die sich unter dem Diskettenlaufwerk befindet, kann geringe Mengen Nickel und Cadmium enthalten. Sie darf nur durch die Verkaufsstelle oder den IBM Kundendienst ausgetauscht werden. Sie darf nicht zerlegt, wiederaufgeladen, kurzgeschlossen, oder Feuer oder Wasser ausgesetzt werden. Die Batterie kann schwere Verbrennungen oder Verätzungen verursachen. Bei der Entsorgung die örtlichen Bestimmungen für Sondermüll beachten. Beim Ersetzen der Bereitschafts- oder Systembatterie nur Batterien des Typs verwenden, der in der Ersatzteilliste aufgeführt ist. Der Einsatz falscher Batterien kann zu Entzündung oder Explosion führen.
Alcune batterie di riserva contengono una piccola quantità di nichel e cadmio. Non smontarle, ricaricarle, gettarle nel fuoco o nell'acqua né cortocircuitarle. Smaltirle secondo la normativa in vigore (DPR 915/82, successive disposizioni e disposizioni locali). Quando si sostituisce la batteria dell'RTC (real time clock) o la batteria di supporto, utilizzare soltanto i tipi inseriti nell'appropriato Catalogo parti. L'impiego di una batteria non adatta potrebbe determinare l'incendio o l'esplosione della batteria stessa.
Algunas baterías de reserva contienen una pequeña cantidad de níquel y cadmio. No las desmonte, ni recargue, ni las eche al fuego o al agua ni las cortocircuite. Deséchelas tal como dispone la normativa local. Utilice sólo baterías que se encuentren en la lista de piezas. La utilización de una batería no apropiada puede provocar la ignición o explosión de la misma.
Safety Notice 7
Though main batteries have low voltage, a shorted or grounded battery can produce enough current to burn combustible materials or personnel.
Bien que le voltage des batteries principales soit peu élevé, le court-circuit ou la mise à la masse d'une batterie peut produire suffisamment de courant pour brûler des matériaux combustibles ou causer des brûlures corporelles graves.
Obwohl Hauptbatterien eine niedrige Spannung haben, können sie doch bei Kurzschluß oder Erdung genug Strom abgeben, um brennbare Materialien zu entzünden oder Verletzungen bei Personen hervorzurufen.
Sebbene le batterie di alimentazione siano a basso voltaggio, una batteria in corto circuito o a massa può fornire corrente sufficiente da bruciare materiali combustibili o provocare ustioni ai tecnici di manutenzione.
Aunque las baterías principales tienen un voltaje bajo, una batería cortocircuitada o con contacto a tierra puede producir la corriente suficiente como para quemar material combustible o provocar quemaduras en el personal.
Note: The battery is charged only while the computer is powered-on (the computer can be in the suspend mode). The battery cannot be charged if the computer is powered-off.
To verify the symptom of the problem, power-on the computer using each of the power sources available as follows:
NOTE: The battery is charged only while the computer is powered-on (the computer can be in the suspend mode). The battery cannot be charged if the computer is powered-off.
If you suspect a power problem, see the appropriate power-supply check listed below:
| Symptom/Error | FRU/Action |
|---|---|
| Power shut down during operation. |
1. Go to 'Power Systems Checkout'
2. Battery Pack 3. Power sources 4. Top System Board |
| The system will not power-off. |
1. If you are in Suspend mode, resume by
pressing Fn. Then try to
power-off.
2. Disconnect the computer from ac power. 3. Remove the battery. 4. If problem occurs consistently, replace Top System Board. |
| Battery pack charges, but the battery status indicator does not light. |
1. Reseat the Inverter Card.
2. Replace the Inverter Card. |
| Battery pack does not charge, the battery status indicator does not light, and the battery fuel gauge is less than 90%. |
1. Check the AC adapter connection.
Make sure that the computer is powered-on
or in Suspend mode.
2. Check the Configuration Utility to ensure that the AC adapter is supplying the correct voltage level. 3. Check the AC adapter. 4. Make sure that the computer is within the operational temperature range. 5. Change the AC adapter. 6. Replace the Battery Pack. 7. Replace the Top System Board. |
Each time you power-on the computer, the power-on self-test (POST) is initiated. The POST takes up to 90 seconds to complete, depending on the options installed.
The POST checks the following items: system boards, memory, display, keyboard, diskette drive, hard disk drive, parallel port, and serial port.
To start the POST, power-on the computer. The following actions will happen:
If the POST cannot be completed successfully, an error code appears on the display, and you are prompted to press Esc or Enter. If you press Esc, the computer bypasses the error and attempts to complete the POST. If you press Enter, the computer displays the Configuration Utility window. You can then try to correct the error. (See 'Running the Diagnostics').- The computer issues one short beep when the POST ends successfully. .cp 10- The computer attempts to load the operating system as customized. If the computer does not find an operating system, it displays a graphic message requesting that you insert a bootable diskette in the diskette drive and press F1 to resume operation.
Removing the Power-On Password
To remove the power-on password, perform the following steps:
The customer must set a new password to restore power-on password protection. The customer will also need to reset the former configuration in the Configuration Utility.
If the computer is using the battery, the Battery Status field in the Configuration Utility indicates whether the battery is OK or low. If the computer is using external power, this field indicates whether the battery is fully charged or still charging. The battery fuel gauge provides a visual indication of the battery power level.
Note: Several types of AC adapters can be supplied with the ThinkPad 701C / 701CS. The procedure for checking them is the same.
Note: In rare cases, the problem may be in the AC adapter even when the voltage is correct. If an AC adapter is available, try replacing the computer's AC adapter.
Note: An audible noise from the AC adapter does not always indicate a defective adapter.
Check the AC adapter if the computer fails only when the AC adapter is used, or if the battery does not charge when the AC adapter is attached and the computer is on or in suspend mode.
NOTE: Several types of AC adapters can be supplied with the ThinkPad 701C / 701CS. The procedure for checking them is the same.
| Pin | Voltage (Vdc) |
|---|---|
| 1 | +15.5 to +17.0 |
| 2 | Ground |
If the voltage is not correct, replace the AC adapter.
NOTE: In rare cases, the problem may be in the AC adapter even when the voltage is correct. If an AC adapter is available, try replacing the computer's AC adapter.
NOTE: An audible noise from the AC adapter does not always indicate a defective adapter.
Note: To remove the battery, end external communications if you are not using an AC adapter. Power-off the computer, and then close the lid. Unlock the battery compartment door located on the bottom of the computer. Slide the battery out of the compartment.
Note: The signal lines not used in these steps, terminals 2 and 3, are used for communication between the system and the battery.
Perform the following steps to check the battery:
pleaseREAD - see
Though main batteries have low voltage, a shorted or grounded battery
can produce enough current to burn combustible materials or personnel.
NOTE: To remove the battery, end external communications if you are not using an AC adapter. Power-off the computer, and then close the lid. Unlock the battery compartment door located on the bottom of the computer. Slide the battery out of the compartment.
Measure the voltage between battery terminals 1 (+) and 4 (-).
| Terminal | Voltage (Vdc) / Signal |
|---|---|
| 1 | 11.0 (nominal) (Range +10.0 to +16.0) |
| 2 | VCC |
| 3 | I/O |
| 4 | Ground |
NOTE: The signal lines not used in these steps, terminals 2 and 3, are used for communication between the system and the battery.
If the voltage is still less than +10.0 Vdc after the recharging, replace the battery.
Note: For this test to be valid, the battery should reinstalled within 1 minute.
Before performing the following steps, make sure that the standby battery is fully charged by leaving the computer plugged into ac power while on or in suspend mode for 24 hours. The computer can be used normally while the standby battery is charging. If any problem is not corrected after charging the standby battery, perform the following steps.
Note: The shaded box appears in Fn only during the first keyboard test of a diagnostics session.
Remove the external keyboard if the internal keyboard is to be tested.
If the internal keyboard does not work or an unexpected character appears, make sure that the three flexible cables extending from the keyboard are correctly seated in the connectors on the top system board.
If the keyboard cable connection is correct, run the Keyboard Test by performing the following steps:
Press the F1 key any time while the POST memory count is proceeding. At the end of the memory test, the Easy-Setup screen screen appears.- Press the left or right arrow key to select Test and press Enter or position the pointer over the Test icon and click the left click button once.- Press Ctrl+A to enter advanced diagnostics.- Press Ctrl+K to start the keyboard diagnostics test.- Press each key. A shaded box appears in the corresponding key position on the keyboard layout on the screen. Press the key again to remove the box.
If the tests detect a keyboard problem, perform the following tasks one at a time to correct the problem:
NOTE:Do not replace a nondefective FRU.
The following auxiliary input devices are supported for this computer through the MultiPort II:
If any of the above devices do not work, reseat the cable connector and repeat the failing operation. If the problem does not reoccur, recheck the connector. If the problem reoccurs, repeat the operation with a device that is known to be good. If the problem still reoccurs, go to 'MultiPort II Checkout'
Note: The TrackPoint III performs automatic compensations to adjust the pointer sensor. During this process, the pointer moves about the screen for a short time. This self-acting pointer movement can occur when a slight, steady pressure is applied to the TrackPoint III pointer when the computer is powered on, when the system is running, or when readjustment is required because the temperature has changed significantly within a short period of time or the temperature is higher than its operating temperature. This symptom does not indicate a hardware problem. No service actions are necessary if the pointer movement stops in a short period of time. However, the TrackPoint III will not stabilize if you apply pressure to it. If pointer movement occurs, you can go into Suspend mode, and then resume normal operation. Resuming or turning the computer on both cause the TrackPoint III to be calibrated, which may correct the problem. If you see continual movement of the pointer, the TrackPoint III is probably defective. In rare cases, the top system board can also cause this problem.
If the TrackPoint III does not work, check the configuration in the Configuration Utility by pressing PgDn to reach the I/O Management screen. If the setting for TrackPoint III is Off, press the left or right arrow to change it to On. If this does not correct the problem, continue with the following procedure:
NOTE: The TrackPoint III performs automatic compensations to adjust the pointer sensor. During this process, the pointer moves about the screen for a short time. This self-acting pointer movement can occur when a slight, steady pressure is applied to the TrackPoint III pointer when the computer is powered on, when the system is running, or when readjustment is required because the temperature has changed significantly within a short period of time or the temperature is higher than its operating temperature. This symptom does not indicate a hardware problem. No service actions are necessary if the pointer movement stops in a short period of time. However, the TrackPoint III will not stabilize if you apply pressure to it. If pointer movement occurs, you can go into Suspend mode, and then resume normal operation. Resuming or turning the computer on both cause the TrackPoint III to be calibrated, which may correct the problem. If you see continual movement of the pointer, the TrackPoint III is probably defective. In rare cases, the top system board can also cause this problem.
If a click-button problem or TrackPoint III problem occurs, perform the following steps:
Press the F1 key any time while the POST memory count is proceeding. At the end of the memory test, the Easy-Setup screen screen appears.- Select an item with the TrackPoint III.- Press either the left or right click button.- Verify that both buttons work correctly.
If either the TrackPoint III or the click button does not work, perform the following tasks one at a time to correct the problem:
NOTE:Do not replace a nondefective FRU.
Use the following procedure to isolate the diskette problem to a controller, drive, or diskette. For this test, you need a scratch, write-enabled, double-sided, high-density diskette (2.0MB that formats to 1.44MB) that is known to be good.
| Symptom/Error | FRU/Action |
|---|---|
| Keyboard (one or more keys) does not work. |
1. Reseat the two larger keyboard cables
2. Keyboard. 3. Top System Board. |
| TrackPoint III does not work or the pointer moves automatically (drifts) or does not work correctly. | 1. Go to 'TrackPoint III Checkout' |
| Symptom/Error | FRU/Action |
|---|---|
| You cannot hear any sound. |
1. In the Configuration Utility, check the
volume level and the settings for Audio
Power and Mute.
2. Attach external speakers or headphones and check for sound: ° If the external speakers or headphones work, replace the internal speaker. ° If the external speakers or headphones do not work, replace the Top System Board. |
| Internal microphone does not record. |
1. Check the application's
recording source and level.
2. Attach an external microphone and check for recording: ° If the external microphone works, replace the internal microphone. ° If the external microphone does not work, replace the Top System Board. |
| Other audio problems. | 1. Replace the Top System Board. |
Diagnostics errors are printed on the printer that is attached to the parallel port when the error is detected. The error is also logged in the system memory.
Use the following procedure to display the errors:
The error log is not saved when system power is turned off.
The green LED on a PC test card (JEIDA/PCMCIA wrap card) turns on when the PCMCIA test is running. If the LED does not turn on, check that the card is installed correctly by reseating the card. If it still does not turn on after the card is reseated and you are using one PC test card, try using the other slot for the test. If you are using two cards, try swapping the cards in the slots. If the LED still does not turn on and the test fails, replace the FRU shown in the diagnostics error code.
Note: Before you replace a display, check the following list to see if it is connected correctly.
Note: The location of the test margin varies with the type of display. The test margin might be on the top, bottom, or one or both sides.
If the display problem occurs only when using an external display, use the following instructions to correct the problem.
Note: Before you replace a display, check the following list to see if it is connected correctly.
If the screen is rolling, replace the display assembly. If that does not correct the problem, replace FRUs in the following order until the problem goes away:
If the screen is not rolling, run the display self-test as follows:
Check for the following conditions:
If you do not see a test margin on the screen, replace the display. If there is a test margin on the screen, replace the system board.
On ThinkPad Models 700, 700C, 720C, 720C, do the following:
The right hinge should already be installed. To replace the microphone and cables, perform the following steps:
Note: Make sure that the SO-DIMM is fully installed in the connector. A loose connection can cause an error. For more information about installing SO-DIMMs, see 'FRU Removals and Replacements'
Depending on the amount of additional memory installed by the customer, the memory size that is available for customer use appears differently. This is not a hardware problem. Consult the following table for the available memory on a system with a 4MB base memory when the customer installs different sizes of small outline dual inline memory module (SO-DIMM).
| SO-DIMM Installed | Total Memory | Available Memory |
|---|---|---|
| None | 4MB | 3712KB |
| 4MB | 8MB | 7808KB |
| 8MB | 12MB | 11904KB |
| 16MB | 20MB | 20096KB |
The following table shows the available memory on a system with an 8MB base memory with different sizes of SO-DIMM.
| SO-DIMM Installed | Total Memory | Available Memory |
|---|---|---|
| None | 8MB | 7808KB |
| 4MB | 12MB | 11904KB |
| 8MB | 16MB | 16000KB |
| 16MB | 24MB | 24192KB |
Memory errors might stop system operations or cause error codes to be displayed.
Use the following procedure to isolate memory problems:
NOTE: Make sure that the SO-DIMM is fully installed in the connector. A loose connection can cause an error. For more information about installing SO-DIMMs, see 'FRU Removals and Replacements'
If memory problems occur intermittently, use the loop option to repeat the test. For more information on running the loop test, see 'Running the Diagnostics' When the test detects an error, an error log is printed on the printer connected to the parallel port. See 'Printing and Displaying Error Logs' for more information.
Do not replace FRUs because of a single, nonreproducible failure. Single failures can occur for a variety of reasons that have nothing to do with a hardware defect, such as electrostatic discharge or software errors. Consider replacing a FRU only when a recurring problem exists. If you suspect that problems besides a failing FRU exist, clear the error log and run the test again. Do not replace any FRUs if errors do not reoccur.
Use the following procedure to isolate a MultiPort II problem. The MultiPort II attaches to the system expansion connector at the rear of the computer.
The infrared transceiver is located on the inverter card in the ThinkPad 701C / 701CS. When you run diagnostics on the infrared transceiver, the test is actually checking the top system board, not the infrared transceiver itself. Therefore, complete the following steps before running diagnostics or replacing any FRUs.
If the customer cannot establish a connection between the ThinkPad 701C / 701CS and a remote system, perform the following steps:
If the two systems still will not connect after you have followed the preceding steps and the remote system is another computer with a terminal program (for example, Windows Terminal). or Procomm) installed, perform the following tests:
If data transfers between the ThinkPad 701C / 701CS and the remote system are slow or unstable:
To run the diagnostics test on the infrared transceiver, perform the following steps:
For a more thorough test, use one PCMCIA card in each slot. Perform the following steps to test the PCMCIA slots:
Installed devices are displayed as dark icons on the diagnostics screen. All other devices are displayed with gray icons.
If a device is installed but the icon appears gray rather than dark, the device is defective. Reseat the device connectors, and then restart diagnostics. If the symptom remains, replace the device or the system board. If needed, adjust the contrast control to clearly distinguish the shades of the icon.
If a device that is not installed appears in a dark shade, for example, if HDD-2 appears in a dark shade when a second hard disk drive is not installed, perform the following steps:
The PCMCIA, System Board, Display, and infrared transceiver icons are always displayed in a dark shade, because the icons represent subsystems of the system board and not attached devices. The parallel port icon is dark except when the diskette drive is attached to the parallel port, in that case, the FDD icon is dark and the parallel port icon is gray. Icons for devices attached through the MultiPort II are dark when the devices are attached, and are gray when the devices are removed from the MultiPort II.
The HDD-1 icon represents the first drive in the system configuration. Similarly, the HDD-2 icon represents the second drive, attached to the docking station.
Note: To check the versions of the video drivers, follow these steps:
Note that LCD-related symptoms might be a result of software problems. Therefore, before working on hardware to correct video problems, make sure that the system has the latest versions of the video drivers installed. Systems that do not have the latest versions of video drivers might experience symptoms such as random extra pixels.
NOTE: To check the versions of the video drivers, follow these steps:
Drivers display their version level when they are loaded. To check them after they have been loaded, look in CONFIG.SYS or AUTOEXEC.BAT files for video driver information.
In Windows
Drivers installed using the video driver installation utility place an icon in the Control Panel, in the Main group. Double-click on the ChipsCPL icon to display the driver dialog box. Choose the Version button to display the driver level.
| Symptom/Error | FRU/Action |
|---|---|
| No beep, power-on indicator on, and a blank LCD during POST. |
1. Adjust contrast.
2. Top System Board. 3. Bottom System Board. |
| ° LCD backlight not working, or ° LCD too dark, or ° LCD brightness cannot be adjusted. |
1. Reseat LCD connectors.
2. Reseat inverter card. 3. Inverter Card. 4. LCD Assembly. |
| LCD contrast cannot be adjusted (ThinkPad 701CS only). |
1. Reseat LCD connectors.
2. Top System Board. 3. LCD Assembly. |
| ° LCD screen unreadable, or ° Characters missing pels, or | See important note for 'Disassembling the LCD Assembly' |
| ° Screen abnormal, or ° Wrong color displayed. |
1. Check that the latest versions of the
drivers are installed.
2. Reseat LCD connectors. 3. Bottom System Board. 4. LCD Assembly. |
| LCD has extra horizontal or vertical lines displayed. | 1. LCD Assembly. |
| Blank LCD, system runs correctly during POST | 1. Check display type. (Press Fn+F1 to enter the Configuration Utility, and then reset Display type to LCD.) |
Before testing or replacing the MultiPort II, ensure that the customer installed the MultiPort II while the computer was powered-off or in Suspend mode. Make sure the problems occur when the MultiPort II has been installed correctly.
| Symptom/Error | FRU/Action |
|---|---|
| Devices connected to the MultiPort II do not work correctly. |
1. Check the device connectors to make sure
that they are connected correctly.
2. Check the cables to make sure they are not defective or damaged. 3. Go to 'MultiPort II Checkout' |
| Problems occur when the MultiPort II is connected or removed (unlatched). |
1. Verify that the MultiPort II is correctly
seated and that the latches are
engaged properly
2. Go to 'MultiPort II Checkout' |
| Power problems occur when the | 1. Remove and then reattach the |
| MultiPort II is connected to the computer. |
AC adapter to the computer or the
MultiPort II
2. MultiPort II. 3. Top System Board. |
| Symptom/Error | FRU/Action |
|---|---|
| Indicator incorrectly remains on or off, but system runs correctly. |
1. Reseat the inverter card.
2. Inverter Card. 3. Top System Board. |
| Battery status indicator blinks green and beeps three times at power-on or Resume. |
1. Check that a fully charged battery is
installed.
2. Battery Pack 3. Reseat Top and Bottom System Boards together. 4. Top System Board. 5. Bottom System Board. |
| Battery status indicator blinks green at power-on. |
1. Check the card-to-card connection.
Reseat Top and Bottom System Boards together.
2. Top System Board. 3. Bottom System Board. |
| Battery status indicator does not turn on when battery fuel gauge is over 90% but less than 100% | 1. This is normal operation if charging continues. Leave the computer charging, and then recheck the battery fuel gauge a short time later to see whether the charge has increased. |
| Symptom/Error | FRU/Action |
|---|---|
| The system will not enter Suspend mode or resume by opening or closing the LCD. |
1. Check the Configuration Utility to ensure
that the Suspend on Lid Close function
is enabled.
2. Check that the computer can enter Suspend mode by pressing Fn+F4. 3. Top System Board. 4. Bottom System Board. |
| Memory count (size) appears different from actual size. | 1. Go to 'Memory Checkout' |
| System configuration does not match the installed devices. | 1. Go to 'Checking Installed Devices' |
| System stops intermittently. | 1. Go to 'Intermittent Problems' |
See 'Infrared Transceiver Checkout' for information on the infrared transceiver and infrared transceiver checkout.
Before testing or replacing any peripheral device, go into the Configuration Utility and ensure that all of the configurations are correct. Also, check applications to ensure that devices are configured correctly.
| Symptom/Error | FRU/Action |
|---|---|
| External display does not work correctly. | 1. See 'External Display Self-Test' in 'Common Devices Checkout' section. |
| Printer problems. |
1. Run Printer self-test
2. Cable. 3. Parallel Port Device. 4. Top System Board. |
| Serial or parallel port device problems. |
1. Device.
2. Device Cable. 3. Top System Board. |
Note: If you cannot find a symptom or error in this list and the problem remains, see 'Undetermined Problems'
| Symptom/Error | FRU/Action |
|---|---|
| Errors occur only when MultiPort II is used | 1. See 'MultiPort II Checkout' |
| PCMCIA slot pin is damaged. | 1. Bottom System Board. |
NOTE: If you cannot find a symptom or error in this list and the problem remains, see 'Undetermined Problems'
Note: Remember that removing the hard disk drive, a SO-DIMM card, or any adapter or device will cause configuration errors. Error code 162 will occur.- Power-on the computer.- Determine whether the problem has changed.- If the problem does not occur again, reconnect the removed devices one at a time until you find the failing FRU.- If the problem remains, replace the following FRUs one at a time.
Perform the following procedures to isolate the failing FRU if the diagnostics tests did not identify which adapter or device failed, or whether the installed devices are incorrect, a short circuit is suspected, or the system is inoperative.
NOTE:Do not replace a nondefective FRU.
Before performing these procedures, perform the following actions:
Power-off the computer.- Check the cables, wires, and connectors for short circuits and open circuits. Visually check them for damage. If any problems are found, replace the FRU.- Remove or disconnect all of the following devices:
The following table shows the Fn key and function key combinations and their corresponding functions.
The Fn key works independently from the operating system. The operating system obtains the status through the system management interface to control the system.
| Fn+ | Description |
|---|---|
| (alone) | Resumes operation from Suspend mode. |
| F1 | Enters the Configuration Utility. |
| F2 | Turns the battery-gauge icon on and off. |
| F3 | Enters Standby mode. |
| F4 | Enters Suspend mode. |
| F5 | Mutes and unmutes speaker. |
| F6 | Turns the hard disk off. |
| F7 | Cycles through display options (LCD, CRT, both). |
| F8 | Reverses video display. |
| F9 | Reserved. |
| F10 | Reserved. |
| F11 | Reserved. |
| F12 | Enters Hibernate mode. |
| Insert | Increases contrast. (This combination key does not provide this function on ThinkPad 701C as TFT screens do not require contrast adjustment.) |
| Delete | Decreases contrast. (This combination key does not provide this function on ThinkPad 701C as TFT screens do not require contrast adjustment.) |
| Home | Increases brightness. |
| End | Decreases brightness. |
| PgUp | Increases speaker volume, unmutes speaker. |
| PgDn | Decreases speaker volume. |
Perform the following steps to format the hard disk:
All data and formatting
on the disk will be destroyed and cannot be recovered.
Have the user make a backup copy of all information on the hard disk that should be saved.
Make sure that a bootable diskette is available.
Make sure that the drive address to be formatted is correct.
Use either the TrackPoint III or the cursor movement keys to interact with the tests. When asked for an OK response, press Enter or select the OK button.
Press the F1 key any time while the POST memory count is proceeding. When the memory test is completed, the Easy-Setup screen screen appears.- Select Test and press Enter.- Press Ctrl+A to enter advanced diagnostics.- Press Ctrl+F. The Format icon appears at the top of the advanced diagnostics screen.- Select the Format icon and press Enter.- Select the hard disk to be formatted and press Enter.- A confirmation screen appears, showing the number of cylinders, heads, and sectors on the hard disk.- Press Esc to exit the low-level format screen without formatting the hard disk.- Press Enter to begin the low-level format of the hard disk. When the low-level format is completed, the advanced diagnostics screen is displayed.- When you restart the computer, a graphic message is displayed at the end of POST, requesting that you insert a bootable diskette into the diskette drive and press F1 to resume operation.
.cp 15
BIOS and Easy-Setup screen, which includes configuration programs and diagnostic tests, are stored in Flash memory. To update them, Flash memory must be updated.
When Updating Flash Memory
DoNOT power-off the computer, disconnect the Vac power, or remove the battery pack during the Flash update. The system board will have to be replaced if the update is interrupted.
Updating Flash memory also resets all of the customer‘s configuration settings to the default values.
To update the Flash memory, perform the following steps:
If you change the user's setting, make a note of the setting before changing it.
Note: A Type III PCMCIA card occupies both PCMCIA slots. To insert the card, aim its bottom ridges at the lower PCMCIA card slot.
Note: A Type III PCMCIA card occupies both PCMCIA slots. To remove the card, press the bottom eject button.
After removing the PCMCIA cover, and filler plug if it is installed, you can insert or remove PCMCIA cards during most computer operations.
To insert a PCMCIA card, perform the following steps:
NOTE: A Type III PCMCIA card occupies both PCMCIA slots. To insert the card, aim its bottom ridges at the lower PCMCIA card slot.
To remove a PCMCIA card, perform the following steps:
NOTE: A Type III PCMCIA card occupies both PCMCIA slots. To remove the card, press the bottom eject button.
NOTE:Do not remove PCMCIA cards while the system is in Suspend or Hibernate mode.**
If you remove a PCMCIA card while the system is in either mode, you might lose configuration information. Or, if you remove a PCMCIA card and insert another card, your system might not recognize the new card.
ThinkPad 701C / 701CS Exploded View
To reattach the LCD assembly, follow these steps:
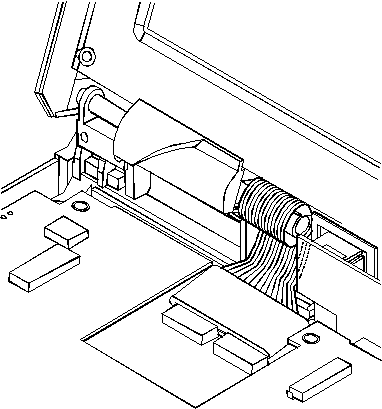
1 = Brown wire.
2 = Yellow wire.
Incorrect routing of the backlight cable may cause it to break after
repeated opening and closing of the computer lid. Routing the cable
correctly is important to prevent this breakage.
To route the backlight cable, follow these steps:
Plug the LCD backlight cable into the inverter card. Do not twist the wires.- Position the brown wire behind the connector so that after it exits the connector housing, it goes down between the inverter card and back wall of the base cover. (It must be outside of the inverter insulator.)- Loop the brown wire toward the LEDs and over the top of the connector.
Backlight cable routing from the rear, shown without the computer lid.
1 = Brown wire.
2 = Yellow wire.
Perform the following steps when you replace the top system board:
The SO-DIMM card is sensitive to physical shock.
Incorrect handling of the card can damage it.
To remove a SO-DIMM card, follow these steps:
To insert a SO-DIMM card, follow these steps:
Screw Size Chart 701C, 701CS (2630)
System (Front View)
1 Latches
2 LCD
3 Keyboard
4 Click Buttons
5 TrackPoint III
6 Fn Key
7 Status Indicators
System (Left Side View)
1 Power Jack
2 Power Switch
3 Parallel/Diskette Drive Connector
4 Microphone-In Jack
5 Line-In Jack
6 Headphone-/Speaker-Out Jack
System (Right Side View)
1 Battery Pack
2 Hard Disk Drive
3 PCMCIA Access Port
4 Slot for Kensington Lock
System (Rear View)
1 Latches
2 System Expansion Connector
3 Docking Door
A MultiPort II or Dock II
can be connected to this interface
to support the following features:
Top System Board (Top View)
1 Keyboard Connectors
2 Inverter Card Connector
3 Microphone Connector
4 Speaker Connector
5 Battery Pack Connector
6 Lid Close Sensor
7 Parallel/Diskette Drive Connector
8 TrackPoint III Connector
Top System Board (Bottom View)
1 Inverter Card Connector
2 Power Jack
3 Power Switch
4 Parallel/Diskette Drive Connector
5 Microphone-In Jack
6 Line-In Jack
7 Headphone-/Speaker-Out Jack
8 Standby Battery Connector
9 Battery Pack Connector
10 Board-to-Board Connector
Bottom System Board (Top View)
1 System Expansion Connector
2 LCD Connectors
3 PCMCIA Controller
4 PCMCIA Slots
5 System Controller
6 Board-to-Board Connector
7 Video Controller
Bottom System Board (Bottom View)
1 PCMCIA Connector
2 Processor
3 System Expansion Connector
4 Modem Connector
5 Random Access Memory
6 SO-DIMM Connector
7 Hard Disk Drive Connector
8 RTC Battery
9 Power-On Password Bypass Pads
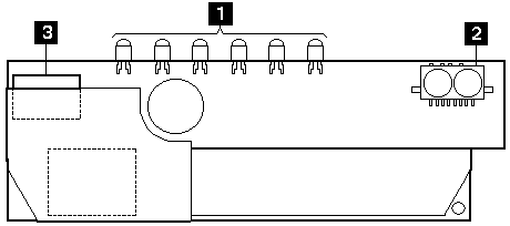
Inverter Card (Front View)
1 Light-Emitting Diodes
2 System Board Connector
Inverter Card (Rear View)
1 Light-Emitting Diodes
2 Infrared Serial Port
3 LCD Connector
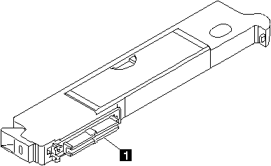
MultiPort II (Front View)
1 Port Connector
MultiPort II (Rear View)
1 Release Lever
2 External Display Port
3 AC Adapter Port
4 External Mouse/Numeric Keypad Port
5 External Keyboard Port
6 Audio Out
7 Audio In
8 Parallel Port
9 Serial Port