Accessories

ThinkPad USB Adapter

Machine Type 5017 · 1998+ · 6 sections

USB adapter accessory.

Overview #

Introduction: The ThinkPad USB Adapter provides legacy ThinkPads with essential USB connectivity for modern peripherals.

Battery Asm (TP) #

Battery Asm

To remove the battery Asm:

  1. Slide the release lock as shown.

2609_4

  • Slide the release latch as shown.
  • Remove the battery Asm.

Reverse the steps described above when installing a new battery pack.

Keyboard (TP) #

Note: Make sure you use the correct screw for replacement.

1030 Keyboard

To remove the keyboard:

  1. Remove the three screws securing the keyboard.

2609_7

  • Turn the notebook over, then lift the keyboard as shown.

    2609_8

    • Remove the keyboard stopper sheet screw.
    • Disconnect the keyboard connector from the system board. Remove the keyboard from the lower case.

2609_9

Step Size (Quantity) Head & Color Torque
1 M2.0 x 9 (3) Flat head, black 2.5 kgf-cm
3 M2.5 x 6 (1) Flat head, black 2.5 kgf-cm

Note: Make sure you use the correct screw for replacement.

Water Channel Asm (TP) #

Water Channel Asm

To remove the water channel Asm:

  • Remove the water channel Asm as shown.

2609_25

Hard Disk Drive (TP) #

Note: Make sure you use the correct screw for replacement.

Hard Disk Drive

warn   -Warning-

  • Do not drop or apply any shock to the hard disk drive.

The hard disk drive is sensitive to physical shock.

Incorrect handling can cause damage and permanent loss of data on the drive.

  • Before removing the drive, have the user make a backup copy of all the information on the drive if possible.
  • Never remove the drive while the system is operating or is in suspend mode.

To remove the hard disk drive:

  1. Remove the two screws from the hard disk cover.

2609_5

  • Slide the hard disk drive module as shown.

    2609_6

    • Lift as shown to remove the hard disk drive module.
Step Size (Quantity) Head & Color Torque
1 M2.5 x 7 (2) Flat head, black 2.5 kgf-cm

Note: Make sure you use the correct screw for replacement.

LCD Unit (TP) #

Note: The Cu tape must be reseated firmly after the LCD unit Asm is replaced -3-.

Note: Make sure you use the correct screw for replacement.

LCD Unit Asm

Note: The Cu tape must be reseated firmly after the LCD unit Asm is replaced -3-.

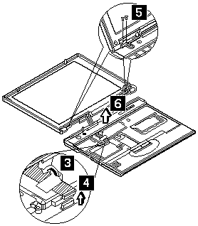
To remove the LCD unit Asm:

  1. Remove the screws as shown.

2609_12

  • Turn the notebook over, then remove the hinge covers.

    2609_13

    • Remove the Cu tape from the FPC cable.
    • Disconnect the LCD FPC cable from the system board.
    • Remove the LCD hinge screws.
    • Raise the upper cover enough to remove the FPC cable.
    • Remove the LCD unit.

    2609_14

Step Size (Quantity) Head & Color Torque
1 M2.0 x 4 (2) Flat head, black 2.5 kgf-cm
5 M2.5 x 6 (4) Flat head, black 3.5 kgf-cm

Note: Make sure you use the correct screw for replacement.