Product Overview #
The ThinkPad 760 and 765 series are high-end desktop replacements known for their unique tilting keyboards and powerful processors.
The following table shows an overview of the system features.
Model 760C or 760CD (9546)
| Feature Description |
|---|
| Processor ° Intel® Pentium® 90 MHz with 256KB L2 Cache |
| ° Intel® Pentium® 120 MHz with 256KB L2 Cache |
| Bus architecture ° AT bus |
| ° VESA local bus for video subsystem |
| Memory (standard) 8MB (on the system board) |
| Memory (option) ° 4MB, 8MB, 16MB, DIMM card (max. 40MB) |
| ° DIMM card adapter |
| CMOS RAM 114 bytes |
| VGA video ° 12.1-inch, 64K colors, |
| 800 x 600 pixel TFT color LCD |
| ° 10.4-inch, 64K colors, |
| 800 x 600 pixel TFT color LCD |
| Diskette drive ° 720KB, 1.2MB, 1.44MB, 2.88MB (4-mode), 3.5-inch |
| (removable) ° 720KB, 1.2MB, 1.44MB (3-mode), 3.5-inch |
| Hard disk drive ° 760C |
| (removable) - 360MB, 2.5-inch |
| - 720MB, 2.5-inch |
| ° 760CD |
| - 810MB, 2.5-inch |
| - 1200MB, 2.5-inch |
| Enhanced video ° 760CD |
| card - Video accelerator |
| - Video capture and overlay |
| - Video composite in/out |
| - MPEG hardware decoding |
| - MPEG2 |
| CD-ROM ° 760CD |
| (removable) - 5-inch, quadruple speed, IDE interface |
| DSP card ° Audio function |
| ° Fax/modem function |
| ° Telephony function |
| ° MWave function |
| Infrared transfer ° Two IR ports |
| ° IrDA 1.0 |
| ° ASK |
| ° 1.15 million bps |
| PCMCIA ° One Type-III, or two Type-II |
Model 760E or 760ED (9546)
| Feature Description |
|---|
| Processor ° Intel® Pentium® 120 MHz with 256KB L2 Cache |
| ° Intel® Pentium® 133 MHz with 256KB L2 Cache |
| ° Intel® Pentium® 150 MHz with 256KB L2 Cache |
| ° Intel® Pentium® 166 MHz with 256KB L2 Cache |
| Bus architecture ° PCI bus |
| ° VESA local bus for video subsystem |
| Memory (standard) 8MB or 16MB (on the system board) |
| Memory (option) ° 8MB, 16MB, 32MB, DIMM card (max. 72MB or 80MB) |
| ° DIMM card adapter |
| CMOS RAM 114 bytes + 4 kilobytes |
| VGA video ° 12.1-inch, 64K colors, |
| 800 x 600 pixel TFT color LCD |
| ° 12.1-inch, 64K colors, |
| 1024 x 768 pixel TFT color LCD |
| Diskette drive ° 720KB, 1.2MB, 1.44MB, 2.88MB (4-mode), 3.5-inch |
| (removable) ° 720KB, 1.2MB, 1.44MB (3-mode), 3.5-inch |
| Hard disk drive ° 810MB, 2.5-inch |
| (removable) ° 1.08GB, 2.5-inch |
| ° 1.2GB, 2.5-inch |
| ° 1.35GB, 2.5-inch |
| ° 2.1GB, 2.5-inch |
| Enhanced video ° 760ED (enhanced model) |
| card - Video accelerator |
| - Video capture and overlay |
| - Video composit in/out |
| - S-video in |
| - MPEG hardware decoding |
| - MPEG2 |
| CD-ROM ° 760ED |
| (removable) 5-inch, 4X, 6X, or 8X speed, IDE interface |
| DSP card ° Audio function |
| ° Fax/modem function |
| ° Telephony function |
| ° MWave function |
| Infrared transfer ° Two IR ports |
| ° IrDA 1.0 |
| ° ASK |
| ° 1.15 million bps |
| PCMCIA/cardbus ° One Type-III, or two Type-II |
Model 760L or 760LD (9547)
(760L-760LD = 9547 ! see PLET ZG96-0100 / COP RSP 9547-01)
| Feature Description |
|---|
| Processor ° Intel® Pentium® 90 MHz with 256KB L2 Cache |
| ° Intel® Pentium® 120 MHz with 256KB L2 Cache |
| Bus architecture ° AT bus |
| ° VESA local bus for video subsystem |
| Memory (standard) 8MB (on the system board) |
| Memory (option) ° 4MB, 8MB, 16MB, DIMM card (max. 40MB) |
| ° DIMM card adapter |
| CMOS RAM 114 Bytes |
| VGA video ° 12.1-inch, 64K colors, |
| 800 x 600 pixel TFT color LCD |
| ° 10.4-inch, 64K colors, |
| 800 x 600 pixel TFT color LCD |
| Diskette drive ° 720KB, 1.2MB, 1.44MB, 2.88MB (4-mode), 3.5-inch |
| (removable) ° 720KB, 1.2MB, 1.44MB (3-mode), 3.5-inch |
| Hard disk drive ° 810MB, 2.5-inch |
| (removable) ° 1.08GB, 2.5-inch |
| ° 1.2MB, 2.5-inch |
| CD-ROM ° 760LD |
| (removable) - 5-inch, quadruple speed, IDE interface |
| ESS card ° Audio function |
| Infrared transfer ° Two IR ports |
| ° IrDA 1.0 |
| ° ASK |
| ° 1.15 million bps |
| PCMCIA ° One Type-III, or two Type-II |
Model 760EL or 760ELD (9547)
| Feature Description |
|---|
| Processor ° Intel® Pentium® 100 MHz w/o L2 Cache |
| ° Intel® Pentium® 120 MHz w/o L2 Cache |
| ° Intel® Pentium® 133 MHz w/o L2 Cache |
| Bus architecture ° PCI bus |
| ° VESA local bus for video subsystem |
| Memory (standard) 8MB or 16MB (on the system board) |
| Memory (option) ° 8MB, 16MB, 32MB, DIMM card (max. 72MB or 80MB) |
| ° DIMM card adapter |
| CMOS RAM 114 bytes + 4 kilobytes |
| VGA video ° 12.1-inch, 64K colors, |
| 800 x 600 pixel TFT color LCD |
| ° 11.3-inch, 256 colors, |
| 800 x 600 pixel DSTN color LCD |
| Diskette drive ° 720KB, 1.2MB, 1.44MB, 2.88MB (4-mode), 3.5-inch |
| (removable) ° 720KB, 1.2MB, 1.44MB (3-mode), 3.5-inch |
| Hard disk drive ° 810MB, 2.5-inch |
| (removable) ° 1.08GB, 2.5-inch |
| ° 1.2GB, 2.5-inch |
| CD-ROM ° 760ELD |
| (removable) - 5-inch, quadruple speed, IDE interface |
| ESS card ° Audio function |
| Infrared transfer ° Two IR ports |
| ° IrDA 1.0 |
| ° ASK |
| ° 1.15 million bps |
| PCMCIA/cardbus ° One Type-III, or two Type-II |
Model 760XL (9547) or 760XD (9546)
| Feature Description |
|---|
| Processor 760XL / 760XD |
| - Intel® MMX ™ Pentium® 166 MHz with |
| 256KB L2 Cache |
| Bus architecture ° PCI bus |
| ° VESA local bus for video subsystem |
| Memory (standard) 760XL |
| 16MB |
| 760XD |
| 32MB (16MB on the system board and |
| 16MB as DIMM) |
| Memory (option) ° 8MB, 16MB and 32MB DIMM |
| CMOS RAM 114 bytes + 4 kilobytes |
| VGA video 760XD |
| ° 12.1-inch, 64K colors, |
| 1024 x 768 pixel XGA TFT color LCD |
| 760XL |
| ° 12.1-inch, 64K colors, |
| 800 x 600 pixel SVGA TFT color LCD |
| Diskette drive ° 720KB, 1.2MB, 1.44MB, 2.88MB (4-mode), 3.5-inch |
| (removable) ° 720KB, 1.2MB, 1.44MB (3-mode), 3.5-inch |
| Hard disk drive ° 760XD |
| (removable) 3.0GB 2.5-inch |
| ° 760XL |
| 2.1GB, 2.5-inch |
| CD-ROM ° 760XD |
| (removable) 5-inch, 8x speed, IDE interface |
| Audio funtion ° 760XD |
| DSP Card |
| ° 760XL |
| ESS Card |
| Infrared transfer ° Two IR ports |
| ° IrDA 1.0 |
| ° ASK |
| ° 1.15 million bps |
| PCMCIA/cardbus ° One Type-III, or two Type-II |
Symptom-to-FRU Index
see >
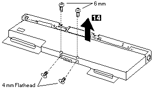
FRU Removals and Replacements
Before the computer is powered-on after FRU replacement, make sure
all screws, springs, or other small parts, are
in place and are not left loose inside the computer.
Verify this by shaking the computer and listening for rattling sounds.
Metallic parts or metal flakes can cause electrical short circuits.
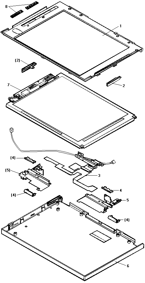
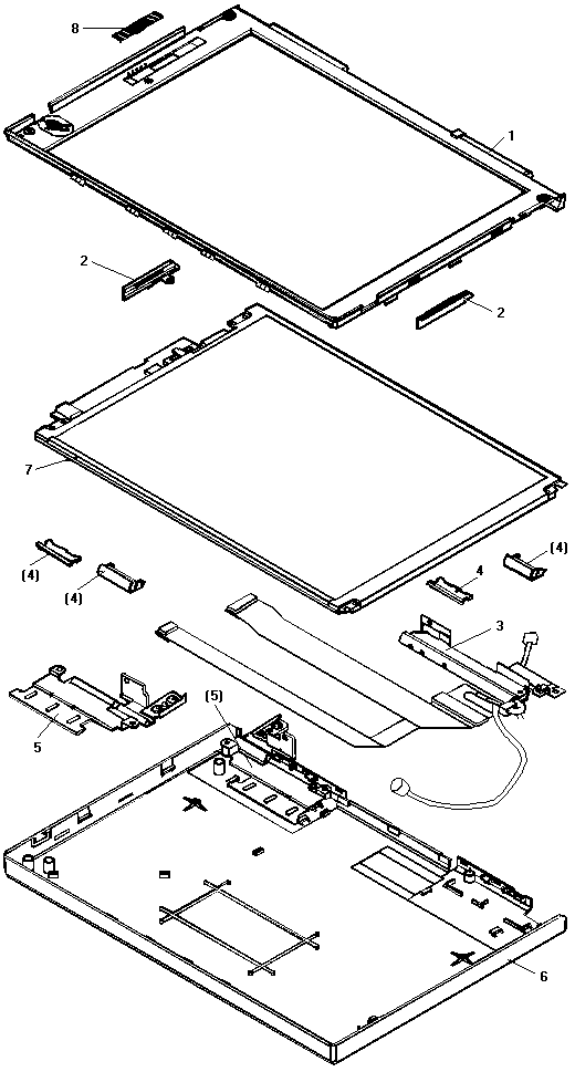
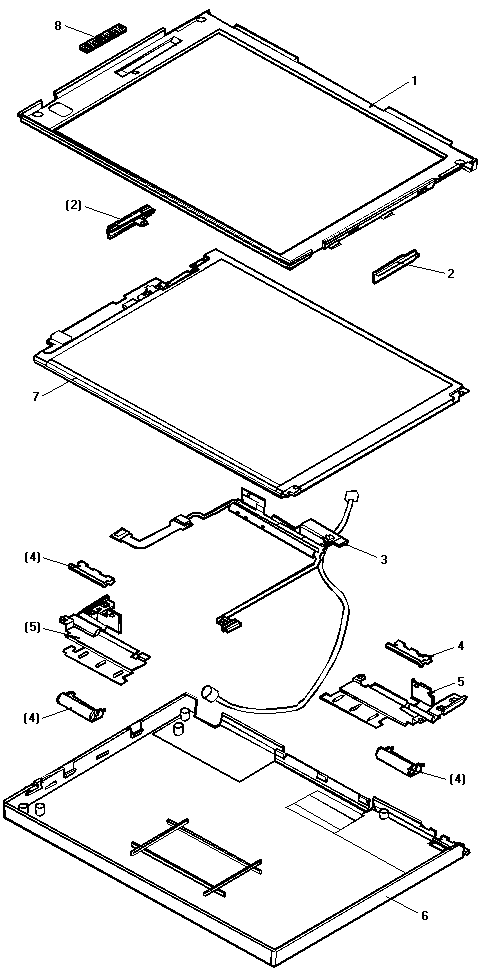
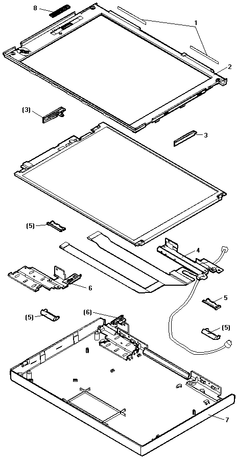
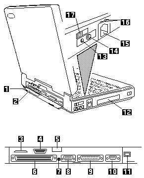
Parts Listing 760 (9546, 9547)
How to Disable the Power-On Password:
Connects the active antenna unit or antenna cable.
Turns on the TV Tuner.
Switches computer display and TV screen.
Increases the value of parameters, Channel Number,
Decreases the value of parameters, Channel Number
Selects a function mode to adjust each function parameter.
Switches the displayed video source between
,
,